房地产板块异动拉升,广宇集团涨停,中原幸福、万科A涨近4%,电子城、财信发展、金地集团跟涨。
举报 联系阅读
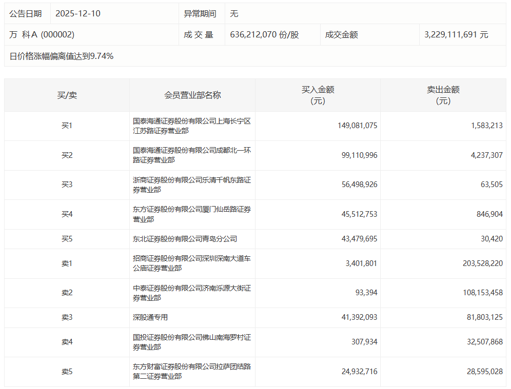
万科A本日涨停 国泰海通上海江苏路净买入1.47亿元万科A本日涨停 国泰海通上海江苏路净买入1.47亿元
17 昨天 16:31
晚间公告|12月8日这些公告有看头以下是第一财经对一些进军公告的汇总,供投资者参考。
627 12-08 22:59
国联水产本日20%涨停,4家机构专用席位净卖出1.13亿元国联水产本日20%涨停,4家机构专用席位净卖出1.13亿元
0 11-19 17:24
晚间公告丨11月2日这些公告有看头以下是第一财经对一些进军公告的汇总,供投资者参考。
8 1238 11-02 19:06
波涛信息本日涨停天元证券官网-在线股票配资_在线股票杠杆注册,陈小群席位净买入2.26亿元波涛信息本日涨停,陈小群席位净买入2.26亿元
0 09-25 16:30 一财最热 点击关闭天元证券官网-在线股票配资_在线股票杠杆注册提示:本文来自互联网,不代表本网站观点。